铸钢闸阀阀体如何转化为水压试验堵阀阀体?
铸钢闸阀阀体如何转化为水压试验堵阀阀体?
水压试验堵阀作为电厂锅炉机组整体水压试验的隔离装置,既可作为锅炉机组封头使用,又可作为管道使用。堵阀的应用省去了焊接、切割盲板的过程,且堵阀可以反复利用,提高了操作的便捷性和经济性,为检修提供了便利。然而,堵阀规格型号较多,同规格需求量较小,若阀体采用开模的方式,耗时耗力还增加开模成本。
铸钢闸阀、堵阀的结构型式
常用铸钢中低压圆筒形闸阀、高压自紧密封闸阀结构如图1所示。

图1 常用铸钢闸阀示意图
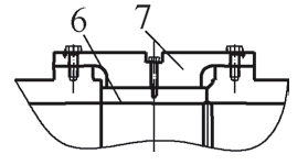
堵阀通过改变阀体流道的零件,便可以发挥两种不同的工作状态,水压试验状态及正常工作状态,其结构型式如图2所示。

a)水压试压状态

b)正常运行状态
图2 铸钢水压试验堵阀示意图
1—阀体 2—支撑板 3—万向螺钉
4—堵板 5—调整螺钉 6—导流圈 7—压条
利用闸阀阀体毛坯加工堵阀
1. 闸阀阀体毛坯的选择
利用铸钢闸阀阀体毛坯加工堵阀的方法适用于高压自紧密封闸阀阀体毛坯以及中腔为圆筒形中法兰结构的闸阀阀体毛坯。
2. 中腔圆筒形阀体毛坯加工堵阀阀体
(1)加工闸阀阀体两侧密封斜面 加工闸阀阀体两侧密封斜面,形成两座圈孔与阀体流道同心,分别放置支撑板和堵板,放置堵板一侧堆焊密封面,加工区域如图3中 A处所示,红色虚线代表原闸阀阀体毛坯区。
(2)对闸阀阀体两侧座圈上端进行加工 通过机加工锪平两圆孔得到两圆平面,加工区域如图3中B处所示。
(3)在阀体两锪平孔B处分别焊接螺纹块 使得堵阀在正常工作状态下,可通过螺栓、压条压紧导流圈,如图3中C、D处所示。
(4)中腔采用法兰垫片密封

图3 铸钢闸阀阀体毛坯加工图
3. 自紧密封闸阀阀体毛坯加工堵阀阀体
高压闸阀阀体毛坯加工除中腔采用伍德密封,其余加工方式与圆筒形中腔阀体加工方式一致。加工装配后的高压自紧密封堵阀和中法兰结构堵阀如图4所示。

4. 优越性
1)利用闸阀阀体毛坯加工堵阀避免对堵阀开模,缩短了阀门制造周期,降低开模成本。
2)中法兰密封的堵阀,中腔由伍德密封转为垫片密封,减少了中腔零件如密封圈、四开环等,提高现场拆装效率的同时节约零件加工制造成本,尤其对于数量较多的此类阀门制造生产,节约的成本就更加显而易见了。
3)中腔垫片密封堵阀在切换工作状态时,避免了密封圈的损耗与更换,为用户节约备品备件的成本。
4)中腔垫片密封的堵阀相比伍德密封中腔加工精度低、配合尺寸少且加工量较少,降低了机加工成本,提高了加工效率。
因此,通过选择适当闸阀阀体毛坯,就可加工为堵阀,带来的效果一目了然,此手段已通过实践认证,得到认可,可广泛应用并推广。
应用
目前科威阀门公司 已将此结构的堵阀应用在国内几家锅炉厂,型号KWZK系列等,此结构的堵阀在降低制造成本的同
时,为用户切换工作状态提供了便利,获得了用户的一致好评,为公司创造了经济效益。
五、结语
伴随我国高参数、大容量机组的建设,以最适合、最经济的方式制造阀门是当前阀门制造厂最具竞争力的手段。通过对水压试验堵阀结构的分析,利用闸阀阀体毛坯加工堵阀的方式,解决了堵阀制造成本高的问题,提高了工作效率,并取得了良好综合效益,同时为实现高端阀门国产化提供有力条件。